Product Summary
-
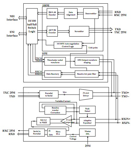
The RTL8201CP-VD-LF is a single-chip/single-port PHYceiver with an MII (Media Independent Interface)/SNI (Serial Network Interface). The RTL8201CP-VD-LF implements all 10/100M Ethernet Physical-layer functions including the Physical Coding Sublayer (PCS), Physical Medium Attachment (PMA), Twisted Pair Physical Medium Dependent Sublayer (TP-PMD), with an auto crossover detection function, 10Base-Tx Encoder/Decoder, and Twisted-Pair Media Access Unit (TPMAU). A PECL interface of the RTL8201CP-VD-LF is supported to connect with an external 100Base-FX fiber optical transceiver. The RTL8201CP-VD-LF can be used for applications such as those for a Network Interface Adapter, MAU, CNR, ACR, an Ethernet hub, and an Ethernet switch.
Parametrics
RTL8201CP-VD-LF absolute maximum ratings: (1)Supply Voltage: 3.0 V to 3.6 V; (2)Storage Temperature: -55 to 125 ℃; (3)PLDPS, Link down power saving mode: 19; (4)Nominal Frequency: 25.000 MHz; (5)Oscillation Mode: Base wave; (6)Frequency Tolerance at 25 ℃: ±50 ppm; (7)Operating Temperature Range: -10 to +70 ℃; (8)Equivalent Series Resistance: 30 ohm Max.; (9)Drive Level: 0.1 mV; (10)Load Capacitance: 20 pF; (11)Shunt Capacitance: 7 pF Max; (12)Insulation Resistance Mega ohm Min./DC: 100V; (13)Test Impedance Meter Saunders: 250A; (14)Aging Rate Per Year: ±0.0003% mA.
Features
RTL8201CP-VD-LF features: (1)Pin-to-pin compatible with the RTL8201CP-VD-LF; (2)Supports MII and 7-wire SNI (Serial Network Interface); (3)10/100Mbps operation; (4)Full/half duplex operation; (5)Twisted pair or fiber mode output; (6)Auto-Negotiation; (7)Supports power down mode; (8)Supports operation under Link Down Power Saving mode; (9)Supports Base Line Wander (BLW) compensation; (10)Supports auto crossover detection; (11)Supports repeater mode; (12)Adaptive Equalization; (13)Network status LEDs; (14)Flow control support; (15)25MHz crystal/oscillator as clock source; (16)IEEE 802.3/802.3u compliant; (17)Supports IEEE 802.3u clause 28; 1.8V operation with 3.3V IO signal tolerance; (18)Low dual power supply, 1.8V and 3.3V; 1.8V is generated by an internal regulator; (19)0.18μm CMOS process; (20)48-pin LQFP package.
Diagrams

(China (Mainland))






